Preselekcja

Artykuł omawia przebieg procesu preselekcji (dołączenia Ab. A do RAC).

Dostęp do niektórych materiałów jest chroniony hasłem.
Wskazówki dotyczące zasad logowania znajdują się tutaj.

Na poniższym schemacie blokowym przedstawiono podstawowe elementy biorące udział w preselekcji.

preselekcja rys1
Rys.: 1. Schemat poglądowy preselekcji

Funkcje poszczególnych przewodów

  • la, lb - służą do połączenia Ab. A z RAC, odbiór przekazywanych impulsów dekadowych Ab. A, przesłanie sygnału zgłoszenia,

  • p - służy do połączenia przekaźników liniowych Ab. A z RAC (zajęcie RAC, zajęcie Ab. A),

  • v - po przejściu przez SN11 zamienia się w przewód v1, służy do podtrzymania przez RAC drogi połączeniowej w stopniu rejestrowym i abonenckim,

  • z - impulsy taryfowe (zaliczanie) - zaczyna się w zespole SN11, a kończy w liczniku abonenckim,

  • w - żyła próbna; zaczyna się w CSA, przechodzi przez SN11, idzie na wejście do SG, wraca z powrotem do SN11, jako przewód w1, a następnie jako przewód w, przez CSR przechodzi do RAC. Po przewodzie w CSA przeprowadza próbę łączy wychodzących z SA, z uwzględnieniem, że:

    • zespół SN11 związany na sztywno w danym łączem wychodzącym jest wolny,

    • wejście na SG związane z wybranym zespołem SN11 jest wolne,

  • n - wywołanie CSR przez CSA,

  • q, r, s - przekazanie kategorii Ab. A do RAC.

Przebieg preselekcji

Etap preselekcji przebiega według następującego scenariusza podstawowego:

  1. Podniesienie mikrotelefonu przez Ab. A i zamknięcie pętli identyfikatora.

  2. Identyfikacja numeru Ab. A.

  3. Zajęcie zespołu próby obejściowej w części wspólnej cechownika stopnia abonenckiego (CAW) przez część indywidualną cechownika (CAB) (→`RW+`).

  4. Próba łączy międzysekcyjnych Ab. A.

  5. Próba łączy wychodzących ze stopnia abonenckiego.

  6. Wybór dla preselekcji jednego wolnego łącza wychodzącego.

  7. Wybór jednego łącza międzysekcyjnego.

  8. Wywołanie cechownika stopnia rejestrowego - CSR.

  9. Identyfikacja przez CSR zespołu SN11, do którego po żyle n przychodzi wywołanie.

  10. Próba wolnych rejestrów RAC po żyle y.

  11. Wybór jednego rejestru RAC.

  12. Przekazanie kategorii Ab. A z CSA do RAC.

  13. Zapięcie drogi preselekcji w obrębie stopnia rejestrowego.

  14. Zapięcie drogi preselekcji w obrębie stopnia abonenckiego.

  15. Zajęcie i zablokowanie rejestru RAC.

  16. Zajęcie i zablokowanie zespołu SN11.

  17. Przejęcie kontroli nad drogą przez RAC.

  18. Zwolnienie cechowników CSA (stopnia abonenckiego) i CSR (stopnia rejestrowego).

Bloki abonenckie BA11 oraz BA12

W centralach K-66 stosowane są dwa rodzaje bloków abonenckich:

  • BA11 (tzw. "duży"), obsługujący 200NN i posiadający 80 łączy międzysekcyjnych (KA/KB), 30 łączy wychodzących (z sekcji KB) oraz 30 łączy przychodzących (do sekcji KC). Pojedynczy blok tego typu składa się z jednego stojaka A11 oraz jednego stojaka A12.

  • BA12 (tzw. "mały"), obsługujący 200NN i posiadający 60 łączy międzysekcyjnych (KA/KB), 20 łączy wychodzących (z sekcji KB) oraz 20 łączy przychodzących (do sekcji KC). Pojedynczy blok tego typu składa się z jednego stojaka A13 oraz 1/2 stojaka A14.

W dalszej części analiza będzie prowadzona dla bloku BA12 (stojaków A13 i A14).

CAW11 vs BA11 i BA12

Część wspólna (CAW11) przystosowana jest do pracy z oboma opisanymi rodzajami bloków (BA11 i BA12). W konsekwencji, niektóre z przekaźników w zespole próby obejściowej CAW11-C3 pozostają nie używane przy współpracy z blokiem BA12. Są to, m.in.:

  • F1 - F8, z których dla bloku BA12 używane są tylko F1 - F6,

  • E1 - E0, z których dla bloku BA12 używane są tylko E1 - E8. W stojaku A13 istnieje tylko osiem ich pomocników, o nazwach 1E1 - 1E8. Brak jest (fizycznie) przekaźników 1E9 oraz 1E0.

Podniesienie mikrotelefonu i zamknięcie pętli identyfikatora

Po podniesieniu mikrotelefonu po stronie Ab. A zamyka się pętla identyfikatora, co skutkuje przyciągnięciem przekaźnika L w wyposażeniu abonenckim Ab. A.

Schemat wyposażenia abonenckiego WA11, wraz z rysunkiem przedstawiającym "matrycę" kolumn i wierszy identifykatora abonenckiego: A13-CAB.A-WA11-1-A.

Identyfikacja Ab. A

  • Identyfikacja setki, przez 1SN, 2SN oraz 1SP, 2SP,

  • Identyfikacja dziesiątki, przekaźniki A1 - A0,

  • Identyfikacja jednostki, przekaźniki B1 - B0,

  • Koniec identyfikacji, przyciąga przekaźnik BB.

Działające przekaźniki SN lub SP podają "−" na uzwojenie przekaźników A1 - A0. Działające A1 - A0 uruchamiają pomocniki (1AK - 3AK) i powodują zadziałanie B1 - B0.

Schematy obwodów identyfikatora abonenckiego: A13-CAB.A-C1-6-D, A13-CAB.A-C1-7-J.

Zajęcie zespołu próby obejściowej stopnia abonenckiego przez część indywidualną cechownika (RW+)

Przepisanie identyfikacji na przekaźniki numerowe:

  • SN, SP są, odpowiednio, przepisywane na S1 oraz S2,

  • A1 - A0 są przepisane na D1 - D0 oraz 1D1 - 1D0,

  • B1 - B0 są przepisane na J1 - J0 oraz 1J1 - 1J0.

Identyfikacja kategorii Ab. A, służą do tego przekaźniki AA, AB, AC.

Próba łączy międzysekcyjnych dla Ab. A

Próby dokonują przekaźniki F1 - F8 lub F1 - F6, w zależności od wielkości bloku.

Przekaźniki F1 - F8 znajdują się w zespole próby obejściowej CAW11: *-CAW11-C3-1-E. Obwody przekaźników próbnych szczegółowo opisano w tym artykule.

Próba łączy wychodzących ze stopnia abonenckiego

  • Przekaźnik wiązkowy W1 i przekaźniki E1-E0

  • Przekaźnik wiązkowy W2 i przekaźniki E1-E0

  • Przekaźnik wiązkowy W3 i przekaźniki E1-E0

Szczegółowy przebieg obwodów żyły próbnej w przedstawiono w artykule "Próba obejściowa - żyła w".

Patrz też uwaga dotycząca wielkości bloku.

Wybór jednego wolnego łącza wychodzącego

(TODO: Opis)

Wybór jednego łącza międzysekcyjnego

(TODO: Opis)

Wywołanie cechownika stopnia rejestrowego CSR

Po zadziałaniu przekaźnika 2FA zostaje podany "+" na zestyki przekaźników E1 - E0 i zostaje uruchomiony dzięki temu jeden z przekaźników 1E1 - 1E0.

Działający jeden z przekaźników wiązkowych, wraz ze swoimi pomocnikami, oraz działający 1E1 - 1E0 jednoznacznie określają jedno z 20 łączy wychodzących. Przez zestyki tych przekaźników na przewód n tego łącza zostaje podany "+" w celu wywołania CSR, który spowoduje dalsze przedłużenie drogi preselekcji od zespołu SN11 do RAC.

Obwody podania "+" na żyłę n poszczególnych łącz wychodzących po stronie CAB.A pokazano na schemacie: A13-CAB.A-C4-17-A (u góry, po prawej). Po przejściu przez PP i SN11, żyła n wchodzi do CRS11, co pokazano na schemacie: *-CSR11-C1-1-F.

Identyfikacja zespołu sznurowego SN11 przez CSR

CSR dokonuje identyfikacji zespołu sznurowego SN11, od którego, po żyle n, przychodzi wywołanie.

  • identyfikacja przeprowadzana jest przez 20 przekaźników A1 - A20. W zależności od tego, na której z 20 żył n był "+", działa odpowiedni przekaźnik A1 - A20. W przypadku równoczesnego pojawienia się "+" na kilku żyłach n, działający przekaźnik A1 - A20 o niższym numerze wyklucza przekaźniki o wyższych numerach.

  • działający nieparzysty przekaźnik A1, A3, …​, A19 daje AB1+; działający parzysty przekaźnik A2, A4, …​, A20 daje AB2+.

Obwody przekaźników A1 - A20 oraz AB1 i AB2: *-CSR11-C1-1-F.

Próba rejestrów po żyle y

Po zadziałaniu przekaźnika AB1 lub AB2 zostaje podany "+" na uzwojenia 3-4 wszystkich przekaźników P1 - P10. "−" podany jest od strony szeregowo z nimi połączonych uzwojeń 5-6

Uzwojenia przekaźników P1 - P10:

  • 1-2 oraz 3-4 nawinięte są przeciwsobnie,

  • 5-6 jest czysto rezystancyjne, nawinięte bifilarnie, konstantanem. Ponieważ połączone jest ono szeregowo z uzwojeniem 3-4, to ograniczając prąd w obwodzie, efektywnie ogranicza ono amperozwoje uzwojenia 3-4.

Początkowy obwód żyły y jest wspólny z obwodem żyły w i został tam szczegółowo opisany.

Od wyjścia z rejestru (364 @ *-RAC-C1-1-F, przez PP, żyła y trafia do CSR11, do końcówek uzwojeń 1-2 przekaźników P1 - P10.

Od strony wolnych rejestrów po żyle y będzie podany potencjał "−" (P1.2 @ *-CSR11-C1-2-D) co spowoduje przyciągnięcie powiązanych z nią przekaźników P1 - P10 (o ile od strony sprężyn czołowych wolnych mostków wybieraka KAB zostanie podany potencjał "+".

Próba zawsze powinna mieć wynik pozytywny, ponieważ CSA sprawdził wcześniej, że w grupie 10-ciu RAC istnieje przynajmniej jeden wolny RAC (patrz: Próba obejściowa - żyła w).

Przekaźniki P1 - P10 znajduja się na następujących schematach CSR11:

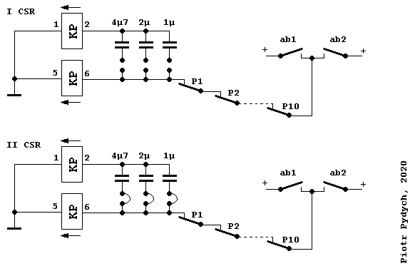
Przypadek równoczesnej próby tego samego RAC przez więcej niż jeden CSR11

KP - przekaźnik z dwoma uzwojeniami, nawiniętymi przeciwsobnie. Wykorzystany jest do rodziału czasu dla ponowienia próby przez CSR11 mające dostęp do tych samych rejestrów, w przypadku, gdy pierwsza próba była równocześnie od więcej niż jednego CSR11.

csr obwod przekaznika kp
Rys.: 2. Uproszczony schemat obwodów w przypadku próby równoczesnej

Załóżmy, że pierwszy i drugi cechownik CSR11 równocześnie przeprowadził próbę tych samych rejestrów. Wtedy, przy prawidłowych obwodach, przekaźniki P1 - P10, mimo wolnych rejestrów nie przyciągają, ani w jednym, ani w drugim CSR. Przy nie działających P1 - P10, podaje się obwód dla przekaźnika KP. Kondensator włączony szeregowo z uzwojeniem 1-2, w pierwszej chwili (gdy jest nienaładowany), stanowi bardzo małą oporność i przez uzwojenie 1-2 płynie prąd prawie taki sam, jak przez uzwojenie 6-5. Ponieważ uzwojenia nawinięte są przeciwsobnie, to wytworzone przez nie strumienie magnetyczne znoszą się i przekaźnik KP pozostaje niedziałający. Z upływem czasu, gdy kondensator się ładuje, przez uzwojenie 1-2 płynie coraz mniejszy prąd, tak, że przekaźnik KP zadziała. Opóźnienie zadziałania przekaźnika KP zależy od pojemności kondensatora i w rozpatrywanym przez nas przykładzie najpierw przyciągnie przekaźnik KP w pierwszym CSR11. Działający teraz KP przerywa obwód podawania "+" na przekaźniki P1 - P10 w pierwszym cechowniku. Z próby jednoczesnej robi się próba pojedyncza, w której przyciągają przekaźniki P1 - P10 drugiego cechownika, odpowiadające wolnym rejestrom.

Obwody przekaźnika KP znajdują się na schemacie: KP @ *-CSR11-C1-4-F.

Wybór jednego rejestru

P1 - P10+ → PB+ - Działające przekaźniki P1 - P10 powodują działanie przekaźnika 1PA i przekaźnika PA. Działające przekaźniki PA i 1PA zmieniają pierwszy obwód dla przekaźników P1 - P10. Przekaźniki P1 - P10 dają sobie podtrzymanie przez własne zestyki oraz przez zestyki przekaźników rozdzielnika RP1 - RP7. Pozostaje tylko jeden z działających przekaźników P1 - P10. Potwierdzeniem wybrania rejestru jest działający przekaźnik PB.

Obwody przekaźników PA, 1PA oraz PB, znajdują się na schemacie: *-CSR11-C1-4-F

Przekazanie kategorii Ab. A z cechownika do rejestru

Działające w CSA przekaźniki 1E1 - 1E0 oraz jeden z przekaźników wiązkowych, z 20 łączy wybierają jedno, a przewody q, r, s tego łącza dołączają do zestyków przekaźników AA, AB, AC, które uprzednio zidentyfikowały klasę Ab. A. Po trzech przewodach, kodem stałoprądowym, następuje przekazanie informacji od strony CSA. Żyły q, r, s przechodzą przez PP, dalej galwanicznie przez SN11 i wchodzą do CSR. Działające w CSR przekaźniki identyfikacji oraz działający jeden z przekaźników P1 - P10 przełużają żyły q, r, s od zidentyfikowanego zespołu sznurowego do żył q, r, s wybranego rejestru. W RAC do żył q, r, s dołączone są przekaźniki AA, AB, AC, które działają w zależności od kombinacji cechowania przewodów q, r, s od strony CSA.

Gdyby liczba szyn w polu komutacyjnym mostka wybieraka KAB była większa, to klasa abonenta mogłaby być przekazywana przez połączenie na wybieraku KAB. Ponieważ jednak mostek wybieraka WK-610 może mieć w polu komutacyjnym maksymalnie 12 szyn, i wszystkie one są już zajęte do innych celów, to klasa przekazywana jest wyżej opisaną drogą omijającą wybierak, tj. przez CSR.

Przesyłanie klasy trwa przez stosunkowo krótki okres czasu. Do momentu zwolnienia cechowników SA i SR, przekaźniki AA, AC, AB, AD1, po zadziałaniu, dają sobie podtrzymanie do końca pracy RAC.

Żyły występujących w obrębie CSR11 (zespół C1 oraz KAB) oraz w RAC przedstawiają się następująco:

  • w RAC: la1, lb1, p, v, t, la2, lb2, n, i, k, l, v2, w, y, q, r, s,

  • w CAR11-KAB: la1, lb1, p, v, t, la2, lb2, n, i, k, l, v2

  • w CSR11-C1: w, y, q, r, s

Obwody żył q, r, s na schematach:

  • dołączanie styków przekaźników AA, AB, AC do żył q,r,s łączy wychodzących: A13-CAB.A-C4-17-A (u dołu arkusza),

  • wejście do CSR11 (od SN11) i ich przejście w kierunku RAC: *-CSR11-C1-3-E (u dołu arkusza, żyły q oraz r) oraz *-CSR11-C1-4-F (u dołu arkusza, żyła s).

  • wejście do RAC: *-RAC-C3-1-G (u góry, po lewej); wcześniej rzechodzą galwanicznie przez *-RAC-C1-4-F (u dołu arkusza, po prawej).

Zapięcie drogi preselekcji w obrębie SR

Obwód elektromagnesów drążkowych KAB

Numer przyciągającego drążka H1 - H0 zależy od numeru SN11, od którego (po żyle n) przyszło wywołanie CSR11. Przypisanie SN11 do drążków pokazano w poniższej tabeli.

Zespół sznurowy Przekaźniki A1 - A20 Drążek w KAB

1SN11, 2SN11

A1, A2

H1

3SN11, 4SN11

A3, A4

H2

5SN11, 6SN11

A5, A6

H3

…​

…​

…​

19SN11, 20SN11

A19, A20

H0

Obwód dla elektromagnesów drążkowych jest podawany dopiero po przyciągnięciu PB.
Czas działania CSR kontrolowany jest przez przekaźnik KA. Od momentu zadziałania przekaźnika identyfikacji (A1 - A20), przekaźnik KA otrzymuje podtrzymanie od rozładowującego się układu RC (patrz: KA.1 @ *-CSR11-C1-1-F).

Numer przyciągającego drążka HA / HB zależy od numeru dołączanego RAC, wg zasady podanej w poniższej tabeli.

Rejestr Przekaźnik P1 - P10 Drążek w KAB

1RAC

P1

HA

2RAC

P2

HA

…​

…​

…​

5RAC

P5

HA

6RAC

P6

HB

7RAC

P7

HB

…​

…​

…​

10RAC

P10

HB

Schematy związane z obwodami elektromagnesów drążkowych w KAB:

  • obwody sterujące (styki przekaźników A1 - A20 oraz P1 - P10): *-CSR11-C1-3-E (u góry, po lewej)

  • właściwe uzwojenia drążków: *-CSR11-KAB-1-C (u góry)

Obwód elektromagnesów mostkowych KAB

Po zadziałaniu elektromagnesów drążkowych, przez ich sprężyny czołowe zostaje podany "+" dla przekaźnika S. Przyciągający przekaźnik S, inicjuje zapięcie odpowiedniego mostka, który wybierany jest zestykami P1 - P10 i zestykami przekaźników AB1 i AB2.

Przypomnienie:

  • nieparzyste SN11 identyfikowane są przez nieparzyste przekaźniki A1, A3, …​, A19 i działający w konsekwencji przekaźnik AB1.

  • parzyste SN11, identifikowane są przez parzyste przekaźniki: A2, A4, …​, A20 i działający AB2.

Rejestry RAC powiązane są z przekaźnikami P1 - P10.

Szczegóły przyporządkowania SN11 i RAC do mostków i drążków w KAB przedstawiowo w artykule opisującym szczegóły sekcji komutacyjnej KAB. Opisano tam też pewne rozbieżności na schematach oraz w literaturze, związane z przyporządkowaniem RAC.

Schematy związane z obwodami elektromagnesów mostkowych w KAB:

  • obwody sterujące (styki przekaźników AB1, AB2, P1 - P10): *-CSR11-C1-3-E (u góry, po prawej)

  • uzwojenia mostków inicjujące przyciągnięcie: *-CSR11-KAB-1-C (u góry); uzwojenia podtrzymujące, zasilane od strony RAC, znajdują się na schematach wielokroci: *-CSR11-KAB-3-C (V1 - V5) oraz *-CSR11-KAB-2-B (V6 - V0).

Zajęcie i zablokowanie RAC

Po zapięciu drogi połączeniowej preselekcji, następuje połaczenie Ab. A z RAC. Na skutek tego, po żyle p utworzony zostaje następny obwód:

Obwód ten zapewnia przyciągnięcie przekaźnika R, a następnie podtrzymanie przekaźników L i R w wyposażeniu abonenckim WA11 oraz przekaźnika RA w RAC.

Działający przekaźnik RA przerywa obwód próby po żyłach w oraz y, cechując RAC jako zajęty i zabokowany (patrz obwód żyły w, który w RAC jest na tym etapie wspólny dla żył w oraz y i który biegnie przez normalnie zwarty styk ra (ra.12 @ *-RAC-C1-1-F).

Zajęcie i zablokowanie SN11

Przyciągnięcie RA w RAC, podaje "+" na przewód v1 (ra.31 @ *-RAC-C1-1-F), w wyniku czego w zespole sznurowym działa przekaźnik S (S.1 @ *-SN13-SN13-1-H).

Działający S powoduje przyciągnięcie przekaźnika F, który daje zaświecenie lampki zajęcia LZ (LZ.2 @ *-SN13-SN13-1-H) i daje przerwanie obwodu po żyle w, co jest równoznaczne z zablokowaniem zespołu sznurowego.

Przejęcie przez RAC kontroli nad zestawioną drogą połączeniową

Cel: zapewnienie trzymania drogi preselekcji, wysłanie sygnału zgłoszenia do Ab. A.

Działający RA włącza "+" na żyłę v1 (354 @ *-RAC-C1-1-F), dzięki czemu zostaje podany "+" na uzwojenie 1-2 elektromagnesu mostkowego w sekcji KAB (np. V6.d @ *-CSR11-KAB-2-B). Ten sam "+" trafia też, przez SN11, na pole komutacyjne mostka w KB stopnia abonenckiego (np. V1.hbd1 @ A14-CAB.B-KB1-12-0), skąd podany jest na uzwojenie podtrzymujące mostka w sekcji w sekcji KB (V1.1 @ A14-CAB.B-KB1-4-0) oraz, przez pole komutacyjne mostka w KB, do uzwojenia potrzymującego mostka w sekcji KA stopnia abonenckiego (np. V1.h1d1 @ A14-CAB.B-KB1-12-0V1.1 @ A13-CAB.A-KA2-26-0).

Zapewnia to trzymanie drogi połączeniowej zestawionej w etapie preselekcji po zwolnieniu CSA i CSR, które w czasie zapinania drogi podtrzymywały obwody na uzwojeniach 3-4 elektromagnesów mostkowych.

Podanie zasilania i sygnału zgłoszenia centrali dla Ab. A

Działający RA dołącza do żył la1 i lb1 przekaźnik DJ (np. ra.15 @ *-RAC-C1-1-F, ra.45 @ *-RAC-C1-1-F). W ten sposób Ab. A otrzymuje zasilanie dla swojego mikrotelefonu przez uzwojenia przekaźnika DJ, które zostają wpięte szeregowo w jego pętlę abonencką (patrz: podanie "−" od ax.12 @ *-RAC-C1-1-F oraz "+" od ax.42 @ *-RAC-C1-1-F).

Działający RA powoduje przyciągnięcie przekaźnika RB (RB.1 @ *-RAC-C1-1-F), który podaje sygnał zgłoszenia centrali (ciągły, 400Hz) na trzecie z uzwojeń przekaźnika DJ (patrz obwód rozpoczynający się od rb.36 @ *-RAC-C1-1-F i prowadzący ostatecznie do DJ.6 @ *-RAC-C1-1-F).

Zwolnienie CSA i CSR i zakończenie preselekcji

Działający w wyposażeniu abonenckim przekaźnik R przerywa pętlę identyfikacji (np. 1r.15 @ A13-CAB.A-WA11-1-A, zwalniając przekaźniki identyfikacji, a następnie przekaźniki numerowe oraz pozostałe przekaźniki CSA. Na skutek zwolnienia przekaźników przez CSA, zostaje zabrany "+" z przewodu n, powodując z kolei zwolnienie przekaźników w CSR.

Zwolnienie CSA i CSR kończy etap preselekcji.

W systemie K-66 obowiązuje zasada, że przy prawidłowej pracy organów, po zakończeniu realizacji jakiegoś etapu połaczenia, następuje zwolnienie przekaźników zajętych od miejsca, gdzie etap ten się rozpoczął.